Chapter 11 - Influence Mine Units - SVK and Luftwaffe; Section 2 - Magnetic Units - M1 Unit and Modifications: M 1 (1st Revision) Unit Circuit - OperationChapter 11 - Influence Mine Units - SVK and Luftwaffe; Section 2 - Magnetic Units - M 2 Unit: M 2 Unit Circuit - Operation
GERMAN UNDERWATERS ORDNANCE MINES
Chapter 11 - INFLUENCE MINE UNITS - SVK AND LUFTWAFFE
Section 2 - MAGNETIC UNITS
M 1 UNIT AND MODIFICATIONS

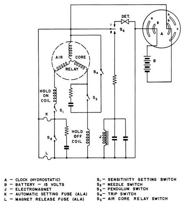
M 1 (2nd Revision) Unit Circuit - Operation (Figure 140).

Arming. Same as the M 1, except that, as the preset sensitivity is applied, S4 closes momentarily even if S2 has opened properly; the purpose being to make doubly sure that S2 is open at the completion of the operation.

Normal Firing and Anti-Countermining. Same as the original M 1.

Figure 140 – M 1 Unit (Second Revision) Circuit

Chapter 11 - Influence Mine Units - SVK and Luftwaffe; Section 2 - Magnetic Units - M1 Unit and Modifications: M 1 (1st Revision) Unit Circuit - OperationChapter 11 - Influence Mine Units - SVK and Luftwaffe; Section 2 - Magnetic Units - M 2 Unit: M 2 Unit Circuit - Operation