Chapter 11 - Influence Mine Units - SVK and Luftwaffe; Section 2 - Magnetic Units - The M 4 Unit: Unit ConstructionChapter 11 - Influence Mine Units - SVK and Luftwaffe; Section 2 - Magnetic Units - The M 4 Unit: M 4 Used in Combination with Another Unit
GERMAN UNDERWATERS ORDNANCE MINES
Chapter 11 - INFLUENCE MINE UNITS - SVK AND LUFTWAFFE
Section 2 - MAGNETIC UNITS
M 4 UNIT

Latitude Adjustment and Arming Process.  Two hairsprings are connected to the needle shaft. One is so adjusted that it has no tension when the needle is in equilibrium. The other hairspring is connected to a motor-driven gear wheel with a 1 : 64,500 ratio. The latitude adjustment is accomplished by the rotation of this wheel. Before latitude adjustment commences, this hairspring has a tension capable of equalizing a magnetic field up to 800 mg RED. However, in this condition, the moving needle contact is held fixed in an equilibrium position by a cam-operated clamp switch. The cam releases the needle, and the spring tension is equal to approximately 700 mg RED. The adjustable range of the meachanism is from 700 mg RED to 400 mg BLUE.

The latitude adjustment and arming process for magnetic actuation is as follows, when the ZR Ia mechanism is used (See figure 154).

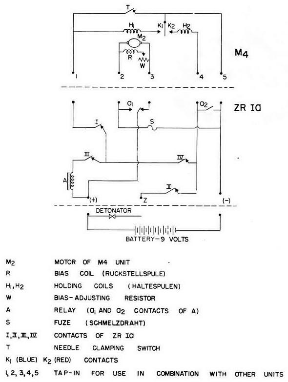
Figure 154 – M 4 Unit Circuit (with ZR Ia)

When the battery and detonator are connected into the circuit, the motor (M2) is energized and begins to run. Its ratio gear train drives the main gear wheel, which redu-ces tension on the hairspring. When the tension has been decreased to a point equal and opposite to a field of 700 mg RED, switch T* opens, releasing the needle. The needle then closes to the BLUE contact K1. The current continues to flow to the motor and to the biasing coil R on the hairspring. The bias-coil-adjusting resistor W is adjusted to exert a RED bias on the unit equal to the RED sensitivity.

When tension on the hairspring has been decreased sufficiently, the needle moves from BLUE contact K1 to RED K2, permitting current to flow to relay A through III, IV, H2 and K2. When A is energized, contacts a1 and a2 operate. Contact a2 provides self-holding for A and short circuits H2. Contact a1 breaks the circuit to the motor and de-energizes the bias coil, permitting the needle to resume equilibrium. This is accomplished by the switching over a1, at which time the fuse (S) blows.

When fuse (S) blows, the switching escapement starts contacts III and IV open. (A) is de-energized, allowing a1 and a2 to return to normal, and, after approximately four seconds, contact I and II close and IV recloses. At this point, the arming process is complete.

Firing. If the unit is actuated by a RED field, the needle moves to the RED contact K2 - the needle being held on by H2 - and the battery fires the detonator through II. If a BLUE actuation occurs, the needle moves to the BLUE contact. K1 - the needle being held on this case by H1 - and the battery fires the detonator through II, IV, and I.

Chapter 11 - Influence Mine Units - SVK and Luftwaffe; Section 2 - Magnetic Units - The M 4 Unit: Unit ConstructionChapter 11 - Influence Mine Units - SVK and Luftwaffe; Section 2 - Magnetic Units - The M 4 Unit: M 4 Used in Combination with Another Unit