Chapter 11 - Influence Mine Units - SVK and Luftwaffe; Section 7 - Pressure and Pressure-Combination Units - Pressure Components D 2 and D 102Chapter 11 - Influence Mine Units - SVK and Luftwaffe; Section 7 - Pressure and Pressure-Combination Units - Characteristics of the D 113
GERMAN UNDERWATERS ORDNANCE MINES
Chapter 11 - INFLUENCE MINE UNITS - SVK AND LUFTWAFFE
Section 7 - PRESSURE AND PRESSURE-COMBINATION UNITS
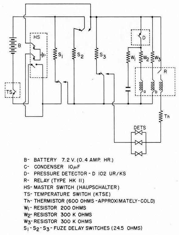
OPERATION OF D 103 UNIT (FIGURE 238)

Upon impact, the bomb fuze operates the master switch, and if the temperature is within the proper range, the bi-metal temperature switch is closed. The battery energi-zes fuse delay switches S1, S2, and S3 in sequence, which gives an arming delay of about three minutes. Since the pressure switch D is normally closed, the two coils of the galvanometer-type relay R are energized equally, and the relay remains in its equilibrium position. During this period, the condenser C is charged through resistor w1 to the full battery potential.

When a negative pressure differential is applied to the pressure device, contact D opens, putting the full load of maintaining coil (a) or relay R on the condenser C. If the pressure differential is maintained for three seconds, the condenser discharges suffici-ently for relay R to make contact due to the current flowing constantly in coil (b). Clos-ing of the contact energizes the hold-on coil of the relay, and, after a short delay due to the thermistor (th), the detonator is filled.

If the pressure differential is not continually maintained for three seconds, the pres-sure switch D closes before the relay has made contact; condenser C is quickly rechar-ged through the relatively low resistor w1, and firing is prevented.

Anti-countermining protection is provided in three ways:

1. The pressure detection device is fitted with an anti-detonation valve.

2. A continuous pressure of three seconds duration is required.

3. The thermistor requires that the relay contact be closed more than momentarily to allow sufficient current to flow and operate the hold-on coil.

If a mine fitted with the D 103 unit is raised from under water, the decrease in press-ure may be sufficient to cause normal firing of the mine.

Figure 238 – D 103 Unit Circuit

Chapter 11 - Influence Mine Units - SVK and Luftwaffe; Section 7 - Pressure and Pressure-Combination Units - Pressure Components D 2 and D 102Chapter 11 - Influence Mine Units - SVK and Luftwaffe; Section 7 - Pressure and Pressure-Combination Units - Characteristics of the D 113