Chapter 11 - Influence Mine Units - SVK and Luftwaffe; Section 2 - Magnetic Units - M1 Unit and Modifications: M 1s UnitChapter 11 - Influence Mine Units - SVK and Luftwaffe; Section 2 -Magnetic Units - M 1 Unit and Modifications: M 1 Unit Circuit - Operation
GERMAN UNDERWATERS ORDNANCE MINES
Chapter 11 - INFLUENCE MINE UNITS - SVK AND LUFTWAFFE
Section 2 - MAGNETIC UNITS
M 1 UNIT AND MODIFICATIONS

M 1r, MA 1r, and MA 1ar. The "r" (raumschutz) modification has been applied to M 1, MA 1 and MA 1a, in which case the "r" is appended to its designation. In MA 1r and MA 1ar the modification lies primarily in the M 1 component fitted, and this may be con-sidered a modification of the M 1 unit. The "raumschutz" feature is a system designed to defeat magnetic sweeps of the sea-current type, such as the British LL. Although it is not definitely known to have been used operationally, it was in the advanced limited-pro-duction stage.

Figure 135 – Raumschutz for LMB Mine

In principle, the "raumschutz" device consisted of a rubber-covered cable 165 feet long with a copper electrode at the end of the cable and another on the mine-case and insulated from it. When a magnetic sweep of the openend sea-current type passes over, a small current would be induced into the cable, a sensitive relay in the mine would re-act, and the unit would be rendered passive for the duration of the sea current plus a predetermined period. This system was designed for mounting on the LMB mine laid by S-boat. The mine electrode was mounted between the fins of a special tail-door, and its lead was led through the fins of a special compartment. The cable was wrapped around the fins of the tail door, and the tail electrode stowed inside the winding. Some experi-mentation has been carried on with nickel electrodes; but, for some reason unknown to the Germans, the nickel electrodes were destroyed by galvanic action after a few weeks in sea water, so copper electrodes were adopted.

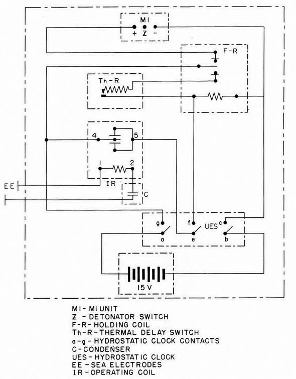
The circuit of the "raumschutz" device of M 1r is shown in figure 136. When a sea current is detected by the sea electrodes EE, the current is fed to the operation coil of IR through condenser C, which is designed to eliminate spurious currents. When IR ope-rates, the operating coil of F-R is energized, switches over, and breaks the + lead to the M 1 unit. This condition persists as long as sea current is detected by IR. When IR is de-energized, self-holding of F-R is maintained through thermal delay switch Th-R which now heats. When Th-R heats sufficiently (approximately 30 seconds), self-holding F-R is bro-ken and the mechanism returns to normal.

Figure 136 – M 1r Unit Circuit

A few sample of M 1 have been found with a small clockwork fitted to the top of the needle box. This clockwork, when started by a normal actuation, drives five small gear wheels fitted with switch cams. These cams switch in various bias coils in the unit according to fixed time constants and thus transform the normal M 1 unit into a rate of change needle-type firing mechanism.

Chapter 11 - Influence Mine Units - SVK and Luftwaffe; Section 2 - Magnetic Units - M1 Unit and Modifications: M 1s UnitChapter 11 - Influence Mine Units - SVK and Luftwaffe; Section 2 -Magnetic Units - M 1 Unit and Modifications: M 1 Unit Circuit - Operation