Chapter 11 - Influence Mine Units - SVK and Luftwaffe; Section 2 - Magnetic Units - M1 Unit and Modifications: M 1r, MA 1r, and MA 1arChapter 11 - Influence Mine Units - SVK and Luftwaffe; Section 2 -Magnetic Units - M 1 Unit and Modifications: M 1 (1st Revision) Unit Circuit - Operation
GERMAN UNDERWATERS ORDNANCE MINES
Chapter 11 - INFLUENCE MINE UNITS - SVK AND LUFTWAFFE
Section 2 - MAGNETIC UNITS
M 1 UNIT AND MODIFICATIONS

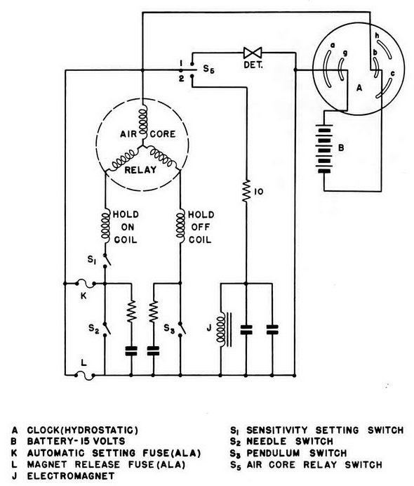
M 1 Unit Circuit - Operation (Figure 138).

Arming. 5 1/2 minutes after the six-day clock starts, a-g closes, and b-c closes 11- 1/2 minutes later. B then blows L, unlocking the needle and starting A.L.A. Upon comple-tion of A.L.A., S2 closes and B blows K, allowing the preset sensitivity to be applied to the unit. As the preset sensitivity is applied, S2 opens and, upon completion of this ope-ration, S1 closes. The unit is now alive.

Normal Firing. A firing actuation closes S2. This energizes the hold-on coil and the re-lay, closing S5 to contact No. 1 and completing the circuit through the detonator.

Normal Anti-Countermining. A counter-mining shock closes S3. This energizes the hold-off coil and the relay, closing S5 to contact No. 2. The unit remains passive until S3 settles down.

A countermining shock during A.L.A. closes S3. The hold-off coil and relay operates as above, energizing J, which holds the A.L.A. arm inoperative until S3 settles down.

Figure 138 – M 1 Unit Circuit

Chapter 11 - Influence Mine Units - SVK and Luftwaffe; Section 2 - Magnetic Units - M1 Unit and Modifications: M 1r, MA 1r, and MA 1arChapter 11 - Influence Mine Units - SVK and Luftwaffe; Section 2 -Magnetic Units - M 1 Unit and Modifications: M 1 (1st Revision) Unit Circuit - Operation