Chapter 11 - Influence Mine Units - SVK and Luftwaffe; Section 3 - Acoustic Mine Units - A 1 Unit: A 1 Unit - OperationChapter 11 - Influence Mine Units - SVK and Luftwaffe; Section 3 - Acoustic Magnetic Units - A 1 Unit: A 1 (Allied - A Mk III) Unit
GERMAN UNDERWATERS ORDNANCE MINES
Chapter 11 - INFLUENCE MINE UNITS - SVK AND LUFTWAFFE
Section 3 - ACOUSTIC MINE UNITS
A 1 - UNIT

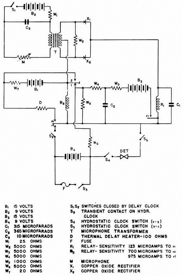
A 1 (Allied - A Mk II) Unit (Figure 164)

Arming and Normal Firing. Same as original A 1.

Normal Anit-countermining. A loud sound which produces a strong current through both R1 and R2 tends to operate both relays. However, because of the delay in R1 occa-sioned by C1, R2 will close to rc first, imposing a blocking potential from B1 across the secondary, thereby holding R1 open.

With R2 closed to rc, the circuit from B1 through D1 is completed and the thermal de-lay switch D starts to heat. After about 35 seconds, d1 is broken and the contact starts to move toward d2, which it makes in about 30 seconds.

When contact d2 is closed, B1 is shorted through W7, hold-on current through R2 is reduced to a small amount, and rc opens. Since the circuit from B1 through D in then broken, D begins to cool and the thermal delay switch starts moving back from d2 to d1, requiring about 15 seconds (total period of cycle is 80 seconds).

Note: The unit is not alive until the thermal delay switch returns to d1 because, al-though the blocking potential is removed from the secondary upon opening of R2, even if a signal causes R1 to close, there is no circuit from B3 through R2, and R2 cannot, therefore, be moved to its firing contact rf.

Figure 164 – A 1 Unit (First Revision) Circuit

Chapter 11 - Influence Mine Units - SVK and Luftwaffe; Section 3 - Acoustic Mine Units - A 1 Unit: A 1 Unit - OperationChapter 11 - Influence Mine Units - SVK and Luftwaffe; Section 3 - Acoustic Magnetic Units - A 1 Unit: A 1 (Allied - A Mk III) Unit