Chapter 11 - Influence Mine Units - SVK and Luftwaffe; Section 3 - Acoustic Mine Units - A 1 Unit: A 1 (Allied - A Mk II) UnitChapter 11 - Influence Mine Units - SVK and Luftwaffe; Section 3 - Acoustic Magnetic Units - A 1 Unit: A 1st - A 2st (Allied - A Mk VI) Circuit Operation
GERMAN UNDERWATERS ORDNANCE MINES
Chapter 11 - INFLUENCE MINE UNITS - SVK AND LUFTWAFFE
Section 3 - ACOUSTIC MINE UNITS
A 1 - UNIT

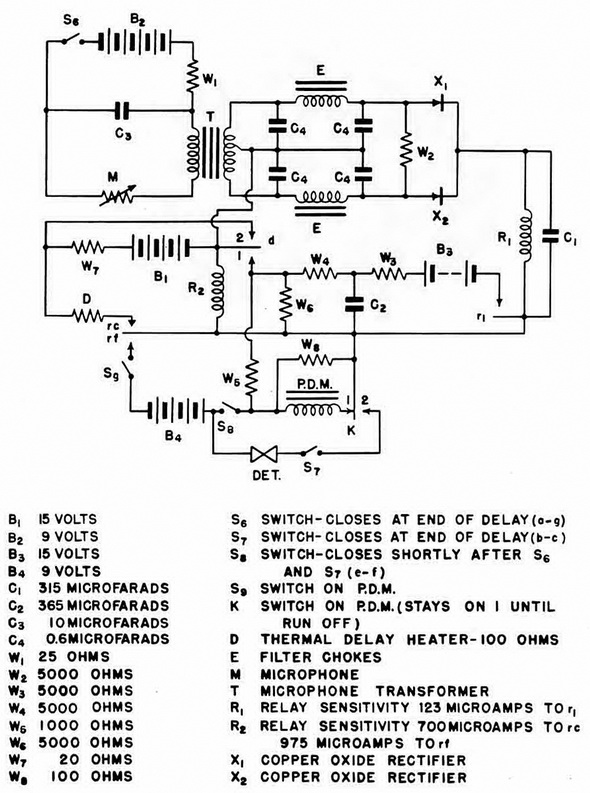
A 1 (Allied - A Mk III) Unit (Figure 165)

At the end of its preset period, the static clock closes switches S6, S7 and S8.

Normal Firing. Same as A Mk I and Mk II, excpet that the incorporation of an extra choke condenser filter (E-C4) eliminates signal currents of 700-1000 cps. frequency, thereby making the unit more selective as to the frequencies of sound which will cause firing or anticountermining.

Normal Anti-countermining. Same as A Mk I and Mk II, except as noted above.

P.D.M. Action. In addition, a twelve-place P.D.M. may be fitted which operates as follows:

1. When a firing impulse closes R2 to rf, battery B4 puts hold-on current through R2 by means of W5. The P.D.M. solenoid is also energized by B4 through K1, and the P.D.M. clockwork starts.

2. When S9 breaks, R2 hold-on current is broken and the P.D.M. solenoid is denergi-zed. The circuit then remains dormant until the P.D.M. interval is run off and S9 reclo-ses.When the  final "blind" actuation is run off, K1 breaks and K2 makes, putting the de-tonator in the circuit.

3. Detailed operation of the P.D.M. is the same as that of the standard P.D.M. S9 corresponds to P-Q, K1 to R-S, and K2 to S-T.

Figure 165 – A 1 Unit (Second Revision) Circuit

Chapter 11 - Influence Mine Units - SVK and Luftwaffe; Section 3 - Acoustic Mine Units - A 1 Unit: A 1 (Allied - A Mk II) UnitChapter 11 - Influence Mine Units - SVK and Luftwaffe; Section 3 - Acoustic Magnetic Units - A 1 Unit: A 1st - A 2st (Allied - A Mk VI) Circuit Operation