Chapter 11 - Influence Mine Units - SVK and Luftwaffe; Section 3 - Acoustic Mine Units - A 1 Unit: A 1 (Allied - A Mk III) UnitChapter 11 - Influence Mine Units - SVK and Luftwaffe; Section 3 - Acoustic Magnetic Units - Microphones
GERMAN UNDERWATERS ORDNANCE MINES
Chapter 11 - INFLUENCE MINE UNITS - SVK AND LUFTWAFFE
Section 3 - ACOUSTIC MINE UNITS
A 1 - UNIT

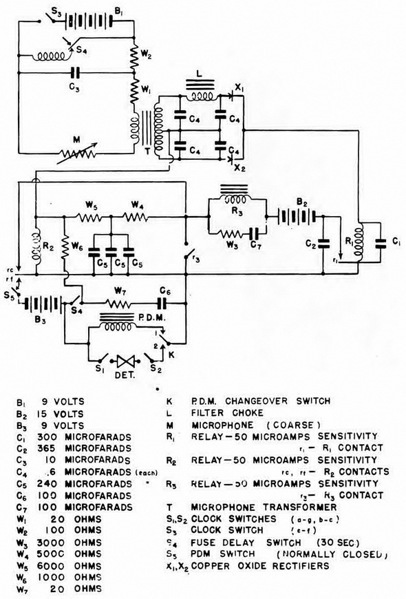
A 1st - A 2st (Allied - A Mk VI) Circuit Operation (Figure 167)

Arming. When the hydrostatic clock completes its delay period, S1 and S2 close, put-ting the detonator into the circuit. Eighteen minutes later, S3 closes and B1 energizes fuse-delay switch S4 and the microphone M. Upon completion of its delay period, S4 switches over, cutting out its heater, putting full battery current on the microphone and closing an extra contact of S4 which arms the holding circuit of B3 on R2.

Normal Firing with P.D.M.. When sound impinges upon the microphone, it causes re-sistance variations which appear as alternating current upon the secondary of transfor-mer T. This current is filtered and rectified in a manner similar to that emplyoed in the A 1 (Allied A Mk II), with the intensity of the rectified current directly variable with the intensity of the sound. An insensitiy microphone is used so that the amount of current through the relay coils will be small compared to that produced in the A 1 (A Mk II).

Since R1 is more sensitive than R2, normal sound of the type produced by an appro-ching minesweeper will operate R1, but R2 will not operate until the sweeper is fairly close. When R1 closes, it completes a circuit through R3, W4, W5 and R2. Because of the high resistance of the circuit, R3 does not operate.

If the sound persists for 3 to 3½ seconds, however, C5 charges sufficiently to let R2 close to rf, whereupon B3 energizes a holding circuit through W6 and the P.D.M. soleniod. During the P.D.M. cycle S5 breaks, de-energizing the holding circuit. After a maximum off 11 "blind" actuations, switch K breaks contact No. 1 and makes contact No. 2, and an additional firing actuation will fire the mine.

Normal Anti-countermining. If the sound impinging on the microphone is a very high intensity, such as might be produced by an underwater explosion, both R1 and R2 operate. R2, however, closes to rc, so that the circuit from B2 through R3 is one of very low resistance. R3 operates, closing r3 which provides a self-holding current for R3 through r1, thus preventing C5 from charging and R2 from closing to rf. This condition will persist until the sound level drops below that necessary to keep R1 operative. At this point, R3 is restored to normal and the unit is alive to normal actuation.

Figure 167 – A 1st and A 2st Unit Circuit

Figure 168 – A 2st Unit

Chapter 11 - Influence Mine Units - SVK and Luftwaffe; Section 3 - Acoustic Mine Units - A 1 Unit: A 1 (Allied - A Mk III) UnitChapter 11 - Influence Mine Units - SVK and Luftwaffe; Section 3 - Acoustic Magnetic Units - Microphones