Chapter 11 - Influence Mine Units - SVK and Luftwaffe; Section 3 - Acoustic Mine Units - Microphones: Basic SystemsChapter 11 - Influence Mine Units - SVK and Luftwaffe; Section 3 - Acoustic Magnetic Units - A 104
GERMAN UNDERWATERS ORDNANCE MINES
Chapter 11 - INFLUENCE MINE UNITS - SVK AND LUFTWAFFE
Section 3 - ACOUSTIC MINE UNITS
MICROPHONES

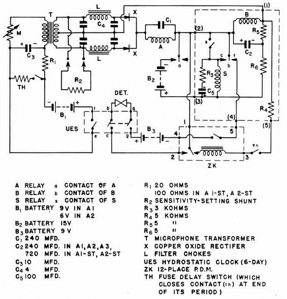
System 1 – A 1, A 1st, A 2, A 2st, A 3. In the description of the circuits of this sys-tem, A 1, A 1st, A 2, A 2st and A 3 will be described jointly because of their similarity. A 1, A 1st, A 2 and A 2st were designed for ground mine use and were used extensively. A 3 was designed for moored mine use but was unsatisfactory because of high-back-ground sound level and was never used operationally on account of its tendency to fire spontaneously. A composite circuit of A 1, A 1st, A 2, A 2st, and A 3 is shown on figure 174. Earlier units in this series had no L/C filter, ZK or fuse delay.

The sequence of operations is as follows:

1. Running of UES finally closes switches a-g and b-c, putting the detonator into the circuit. A few minutes later, e-f closes and B 1 energizes the microphone circuit and fuse delay switch TH. TH heats for several seconds before switching itself out and closing (th) thus preventing initial surge from firing the mine, since (th) breaks the holding cir-cuit to Relay B. All sound impulses on the microphone produce alternating currents in the transformer circuit which are shunted by R2, then filtered and rectified. The value of the direct current, led to relays A and B, is determined by the sound level.

2. Firing. When the sound level reaches the operating point of A, (a) closes after a short delay due to C1, and places B2 in the circuit of the B relay through R5 and R6 in opposition to the signal current. Since current from B2 is greater than signal current (b) closes to (bf) and B3 holds (b) on (bf) by a holding circuit through R4. At the same time, B3 energizes the trigger coil of the ZK (ship-counter), or, if on the last actuation, the detonator, and firing reaction is produced. In the case of a blind actuation, the interrup-ter contact (4-5) of the ZK breaks the holding circuit and the unit returns to normal.

3. Protection. If, when the sound level reaches the operaton point of A, it rises too rapidly to the operating point of B for A to react (since A is delayed somewhat by C1 and put B2 in opposition to the signal current, (b) closes to (bc), S is energized by B2 as soon as (a) closes, closing (s) which provides a self-holding circuit for S as long as (a) is closed and provides a short circuit across B and prevents firing. In the earlier circuits, the self-holding of (b) on (bc) was obtained by the use of an additional battery and a definite passive period set-up determined by the heating of a thermal delay switch D to break self-holding. These systems were found less positive in action.

4. Intermediates State. An additional phenomenon is possible. If, after A has acted, but before (b) has closed to (bf) the sound rises to a very high level, the resultant signal current may be strong enough to equalize and oppose the B2 current. In this case, B acts as a galvanometer until the sound level determines the outcome. In most cases, the sound level drops and the B2 current (or change on C2) closes (b) to (bf) and firing re-sults.

Figure 174 – Composite Circuit, A 1, A 1st, A 2, A 2st, and A 3

Figure 175 – Interchange Tap-Ina

5. Schematic Representation of the reaction of A 1, A 2, and A 3 to different sound effects is shown in figure 176a, b, c. In figure 176a, it is shown that A 1, A 2 and A 3 will fire as a result of influence of a ship or GBT sweep. Firing occurs approximately wto se-conds after the sound level of A has been reached. Distances shown are approximate. In figure 176b there are three cases which result from detonations:

Case 1 – Detonation Nearby - both A and B react simultaneously - protection.

Case 2 – Detonation at distance - only A reacts, but closed less than 2 seconds - no reachtion.

Case 3 – Detonation at great distance - neither A nor B reacts.

In figure 176c, there are three cases which result from a detonation sweep. (Distan-ces are approximate).

Case 1 – KKG 0-1650 ft. - both A and B react simultaneously - protection.

Case 2 – KKG 1650-5000 feet - only A reacts and closed more than 2 seconds - firing.

Case 3 – KKG greater than 5,000 ft. - neither A nor B reacts.

Figure 176 – Parts a, b, and c – Reactions of A 1, A 2, and A 3

Chapter 11 - Influence Mine Units - SVK and Luftwaffe; Section 3 - Acoustic Mine Units - Microphones: Basic SystemsChapter 11 - Influence Mine Units - SVK and Luftwaffe; Section 3 - Acoustic Magnetic Units - A 104