Chapter 11 - Influence Mine Units - SVK and Luftwaffe; Section 3 - Acoustic Mine Units - A 104: A 104 Circuit - OperationChapter 11 - Influence Mine Units - SVK and Luftwaffe; Section 3 - Acoustic Magnetic Units - A 105: A 105 Circuit Operation
GERMAN UNDERWATERS ORDNANCE MINES
Chapter 11 - INFLUENCE MINE UNITS - SVK AND LUFTWAFFE
Section 3 - ACOUSTIC MINE UNITS
A 104

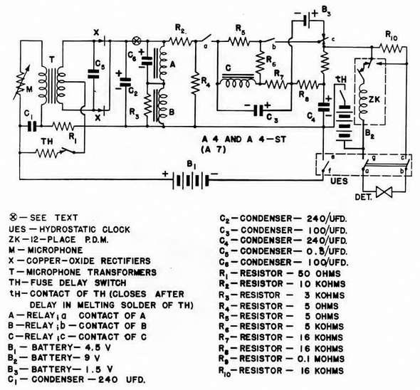
System - A 4, A 4st, A 105, A 105st (Figure 180)

A 4, A 4st, A 105, A 105st, are all basically the same mechanism. All are designed for ground mines. A 4 and A 4st are designed for use in LMB, TMB, and TMC. A 105 and A 105st are designed for use in BM 1000. The requirements laid down for A 4 were as follows: firing at the approach of ship, recognition and thwarting of noise-buoys, recog-nition and thwarting of detonator-sweeps, and self blocking at the detonation of nearby mines. The circuit of A 105 is the same as that for A 104, except that R 10 is removed to prevent recharging of C4 through a low-resistance circuit. Thus, A 105 operates as shown in figure 185, since the charge of C4 leaks off through relay C in 4-8 seconds to the point where it will no longer keep C in the operated position. The circuit of A 4 and A 4st is shown in figure 180, and the sequence of operations is as follows:

1. Running of UES finally closes switches a-g and b-c, putting detonator into the cir-cuit. A few minutes later, e-f closes and B1 energizes the microphone circuit and fuse delay switch TH. TH heats for several seconds before switching itself out and closing (th), thus preventing initial surge from firing the mine, since (th) breaks charging circuit from B2. When (th) closes, B2 charges C4 with a delay occasioned by R9. All sound im-pulses on the microphone produce alternating currents in the transformer circuit which are then rectified. The value of direct current fed to relays A and B is determined by the sound level.

2. Firing. When the sound level reaches the operating point of A, (a) closes, allowing the charge on C4 to operate relay C with a delay of 1/2 second occasioned by R8 and C3, causing (c) to switch over. When the sound level reaches the operating point of B, (b) closes and B2 energizes the trigger coil of the ZK; or, if on the last actuation, the detonator and firing reaction is produced with the current passing through (th), R4, (a), R5, (b), (c), and the ZK (or detonators). Holding of A and B is accomplished by voltage drop through R4 after the charge on C4 is dissipated.

3. Protection. If, when the sound level reaches the operating point of A, it rises too rapidly to the operating point of B for C to react (less than 1/2 second), closure of (b) puts a short circuit across C3 through (c), and battery B3 helps discharge any potential on C3 and, at the same time, provides a weak current to hold (c) on its normal contact as long as (b) is closed. This condition persists as long as (b) is closed. Protection is also provided in case after closure of (a), the sound level rises too slowly to the operationg point of B. After closure of (a), C4 is subject to current drain, and, after 4-8 seconds, is no longer capable of holding C in the operated position. Thus, if the sound level does not rise to the operating point of B within the 4-8 second interval, the mechanism will react as though C had not operated and will remain passive unitl (a) opens and allows the re-charging of C4 through R9, which requires approximately 15 seconds.

Figure 180 – A 4, A 4st Unit Circuit – Condition before Launching

Figure 181 – A 4st Unit

In figure 184a, it is shown that A 4 and A 105 will fire as a result of influence of a ship, but not as a result of GBT sweep. Since the ship's sound level reaches B within period T after C reachts, firing occurs when the B level is reached. In the case of the GBT, however, the B level is not reached until period T has expired and protection re-sults. (Distances shown are approximate.)

In figure 184b, there are three cases which result from detonations:

Case 1 – Detonation nearby - both A and B react simultaneously - protection.

Case 2 – Detonation at distance - only A reacts - no reaction.

Case 3 – Detonation at great distance - neither A and B reacts.

In figure 184c, there are three cases which result from a detonation sweep:

Case 1 – KKG nearby - both A and B react within 1/2 second - protection.

Case 2 – KKG at distance - only A reacts - no reaction.

Case 3 – KKG at distance - neither A nor B reacts.

Figure 184 – Parts a, b, and c – Peactions of A 4, A 105

Chapter 11 - Influence Mine Units - SVK and Luftwaffe; Section 3 - Acoustic Mine Units - A 104: A 104 Circuit - OperationChapter 11 - Influence Mine Units - SVK and Luftwaffe; Section 3 - Acoustic Magnetic Units - A 105: A 105 Circuit Operation