Chapter 11 - Influence Mine Units - SVK and Luftwaffe; Section 3 - Acoustic Mine Units - A 104Chapter 11 - Influence Mine Units - SVK and Luftwaffe; Section 3 - Acoustic Magnetic Units - A 104: System 2 - A 4, A 4st, A 105, A 105st
GERMAN UNDERWATERS ORDNANCE MINES
Chapter 11 - INFLUENCE MINE UNITS - SVK AND LUFTWAFFE
Section 3 - ACOUSTIC MINE UNITS
A 104

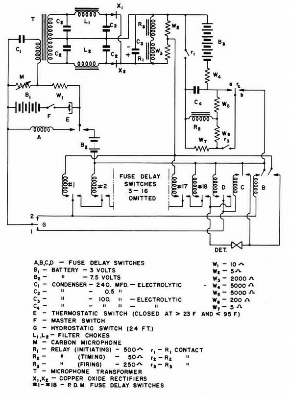
A 104 Circuit - Operation (Figure 178)

Arming. When the mine is dropped, action of the Rheinmetall fuze closes Master Switch F. Since the thermostatic switch E is normally closed at temperatures between 23° and 95° Fahrenheit, B1 energizes the microphone through W1 and fuse-delay switch A. Upon completion of its delay period, A switches over, putting B2 in series with B1 with respect to all parts of the circuit, except the microphone circuit.

If the mine reaches a depth of 24 feet or more, hydrostatic switch G closes to con-tact No. 2, and upon completion of the operations described in "Closing the Master Switch" under A 104, Par. 1 above, B1 and B2 energize fuse-delay period, B switches over, curts itself out, and puts the detonator in the circuit.

Delay-Action Bomb Firing. If the mine does not reach a depth of 24 feet, the hydro-static switch remains on contact No. 1, and upon completion of the operations described in "Closing the Master Switch" Par. 1 above, B1 and B2 energize switches C and D is pa-rallel. Upon completion of their respective delay periods, C and D switch over, putting the detonator across the batteries.

Normal Firing with P.D.M. When sound impinges on the microphone, the change in microphone resistance appears as current variations on the primary of transformer T, and as alternating signal current on the secondary of T. The signal current is filtered by L1, L2 and C2, rectified by X1 and X2 with direct current then flowing through R1 and R3, charging C3. R1 is more sensitive than R3, the sound level at which R1 operates being the initiating level and the level at which R3 operates being the firing level.

When the sound reaches the initiating level, R1 closes r1, causing B3 to start charging C4. After 1/2 second, C4 will be sufficiently charged to operate R2, thereby breaking r2a, and making r2b, completing a circuit from B1 and B2 through fuse delay switch No. 1, W2, r1, W7, r3 and r2b. Potential drop through W2 holds R1 and R3 operative, and since r1 is half closed, B3 holds R2 operative.

Upon completion of its delay period, switch No. 1 switches over, cutting in switch No. 2 and by-passing the holding circuit which, if the sound has ceased, allows the cir-cuit to return to normal. Upon completion of its delay period, switch No. 2 switches over, cutting in switch No. 3, and the circuit is normally alive again. After a maximum of nine "blind" actuations, switches No. 17 and No. 18 operate, putting the detonator in the firing circuit, and an additional firing actuation will fire the detonator.

Normal Anti-countermining. If, at any time during the life of the unit, the relays ope-rates in such a sequence that R3 operates before R2, the unit is rendered passive for the duration of the sound which causes the condition. If the sound reaches the firing level within 1/2 second after r1 closes, R3 will close r3, making an almost direct short across C4 via r2a. R2 then cannot operate.

If the sound then drops below the initiating level, all relays return to normal. If the sound drops below the firing level, but not below the initiating level, and then rises to the firing level after a 1/2 second delay, the unit will fire normally.

P.S.E. Firing. Photo-electric cells may be fitted as in M 101.

Figure 178 – A 104 Unit Circuit

Chapter 11 - Influence Mine Units - SVK and Luftwaffe; Section 3 - Acoustic Mine Units - A 104Chapter 11 - Influence Mine Units - SVK and Luftwaffe; Section 3 - Acoustic Magnetic Units - A 104: System 2 - A 4, A 4st, A 105, A 105st